De I-166 Voltohmmeter.
Deze meter behoorde ook tot de IE-29 test-uitrusting. Het instrument beschikt echter over veel meer meetbereiken als de I-50, die meer voor grotere
stromen en lage spanningen was bedoeld.
Op het type-plaatje staat dat de meter in 1944 gemaakt is (Waarschijnlijk door de firma Simpson) en de MFP-behandeling in Augustus 1945 heeft plaats gevonden.
De meter in gesloten toestand.

Blik op het geheel.

Hier boven twee afbeeldingen van de I-166 in geopende toestand.

De meetbereiken zijn hier weergegeven .

Het front van het meetinstrument.
De schaal van de meter.
De bereik-schakelaar.
De deksel met meetsnoeren en het 'Technical Manual" TM 11-2613 van 27 Mei 1944 .

Zo moet het binnenwerk er volgens het boekje uit zien.
En zo ziet dat er tegenwoordig uit. ( November 2010 )
Afbeelding uit het TM, met batterij van 4,5 Volt. De dop met P-120 is de gelijkrichter voor het wisselspannings- stroom-bereik .
De batterij is een Philips en die heb ik maar even wat verstopt, er wordt nog een exemplaar gemaakt dat op de echte gaat lijken.

Bovenaanzicht van de componenten.
Een redelijk degelijke gelijkrichter. Zou het een slecht ding zijn ????? Hij is zo gemakkelijk te vervangen !!!

Het lege kastje met batterijhouder en schema.
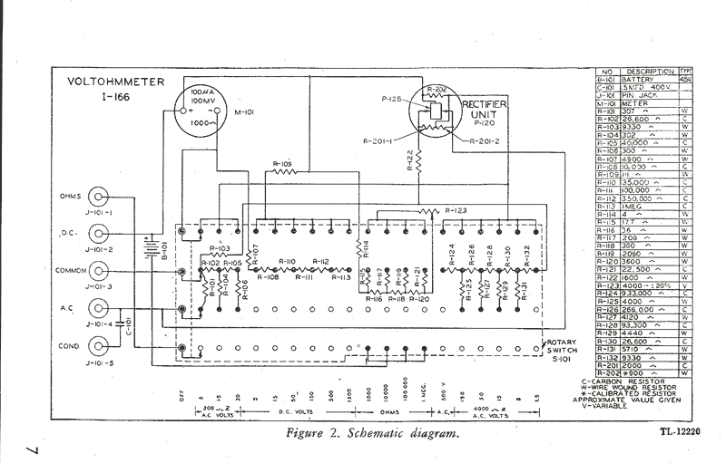
Het schema.
Voor de liefhebbers, een pdf van het Technical Manual : TM 11-2613