Een precisieinstrument dat door de Amerikanen tijdens de tweede wereldoorlog werd ontworpen. Het apparaat werd ook nog jaren na de oorlog door alle NATO-landen gebruikt. SCR is de afkorting van complete systemen waarvan, in dit geval. de BC221-(&) een onderdeel is.
Het was zelfs zo goed dat de Russen het gecopieerd hebben.
Het is onvoorstelbaar hoe nauwkeurig het instrument is, ook na meer dan 80 jaar..........
Algemene beschrijving.
a. De frequentiemeterset SCR-211- (&) is een precisie-instrument dat is ontworpen om radiofrequenties tussen 125 en 20.000 kilo-Herz (kHz) te meten of uit te zenden. Het is een draagbaar, volledig autonoom instrument dat voornamelijk wordt gebruikt voor de kalibratie van veldradio-ontvangers en -zenders door directe vergelijking met de gekalibreerde variabele-frequentie-oscillator van de frequentiemeter. Elke meter bevat een kristaloscillatorcircuit van 1.000 kHz, dat zowel dient als bron van nauwkeurige radiofrequentiesignalen in veelvouden van 1.000 kHz, als voor de kalibratie van de variabele-frequentie-oscillator van het instrument op een aantal punten. Deze frequentiekalibratiepunten worden "kristalcontrolepunten" genoemd.
Voor de preciese werking van dit instrument wordt verwezen naar de bijgevoegde TM-11-330.

b. Het hoofdonderdeel van de set is de frequentiemeter BC-221-(&), een heterodyne frequentiemeter, die wordt geleverd in twee soorten behuizingen: een zwarte, in wrinckle-lak gespoten aluminium behuizing (afb. 1)
Of een olijfgroene houten behuizing. (Zie afb. 2.) De Nederlandse luchtmacht had een grijze uitvoering.
Het bovenste en grootste compartiment van de behuizing bevat het chassis van de frequentiemeter en soms enkele reserveonderdelen. Het volgende kleinere compartiment, onderaan de achterkant, bevat de batterijen. Het kleinste compartiment, onderaan de voorkant, bevat reserveonderdelen of de hoofdtelefoon. (Zie hieronder de nummers. 19, 20, 21 en 25 voor representatieve afbeeldingen.)
De reserve-onderdelen van de BC221-T.
.Bij de BC221-B zijn de reserveonderdelen achter de eigenlijke set opgeborgen.
De BC-221-AF uitvoering met weer een ander opberg-wijze.
Bij de houten uitvoeringen is er een klep onder de calibratie-tabel die een opbergcompartiment voor de hoofdtelefoon bevat.
Een draaggreep en een of twee kliksluitingen zijn aan de bovenkant van de behuizing gemonteerd. Aan de zijkanten van de kast zijn twee kleine ringen bevestigd waaraan de draagriem ST-19-A kan worden gehaakt. De frequentiemeters BC-221-Q, BC-221-AA, BC-221-AС, ВС-221-AE, BC-221-AF, BC-221-AG, BC-221-АН, ВС-221-AJ, BC221-AK en BC-221-AL worden normaal gesproken meegeleverd met de houten kast. En sommige exemplaren van de types BC-221-Q en BC-221-AA zijn ook van een houten kast voorzien, maar werden ook in een aluminium-kast geleverd. Alle andere modellen worden geleverd met een aluminiumlegeringbehuizing.
c. De frequentiemeter BC-221- (&) is gekalibreerd in twee bereiken: 125 tot 250 kHz en 2000 tot 4000 kHz. Door gebruik te maken van de 2e, 4e en 8e harmonischen van het laagfrequente bereik, kan elke frequentie tussen 250 en 2000 kHz worden verkregen; door gebruik te maken van de 2e, 4e en 5e harmonischen van het hoogfrequente bereik, kan elke frequentie tussen 4000 en 20.000 kHz worden verkregen. De kristaloscillator heeft een grondfrequentie van 1000 kHz. De grondfrequentie en de harmonische frequenties worden gebruikt om de kalibratie van de variabele frequentieoscillator op een groot aantal punten te controleren
d. De verschillende modellen van de frequentiemeter:
BC-221- (&) worden geleverd met zes verschillende typen bedieningspaneelconfiguraties. Sommige van deze configuraties zijn verder aangepast met betrekking tot de locatie van de antenneaansluiting, ANT, en soms een aardaansluiting, GND, die op het bedieningspaneel is gemonteerd in plaats van bovenop de kast. Deze aanpassingen worden weergegeven op de afbeeldingen van de bepaalde modellen. (Zie onder fig. 3 tot en met 8, incl.)
De types BC221-A, -C, en -D.
De BC-221-B, -E, -N, Q, -AA, -AE en -AG
OPMERKINGEN. . Naast de bedieningselementen in afbeelding 4, bevat het bedieningspaneel van de BC-221-AA en BC-221-AE een antenneaansluiting, ANT, en het bedieningspaneel van de BC-221-AG zowel een ANT- als een GND-aansluiting.
De BC-221-F, -J, -K en -L.
DE BC-221-M, -O, -P, -R, -T, -AC, -AF,en -AH.
De BC221-AJ en -AL.
De BC-221-AK
Naast de bedieningselementen in afbeelding 6, bevat het bedieningspaneel van de BC-221-AС, ВС-221-AF en BC-221-AH zowel een ANT- als een GND-aansluiting.
e. Een zorgvuldige bestudering van deze paneelindelingen zal aangeven dat bepaalde bedieningselementen in alle modellen van de frequentiemeter ВС-221- (&) hetzelfde zijn. Dit zijn: DIAL HUNDREDS, DIAL UNITS, CORRECTOR, GAIN en PHONES. De functie van deze onderdelen is in alle gevallen hetzelfde. Sommige modellen hebben een AAN-UIT-schakelaar, terwijl deze functie bij andere modellen gecombineerd is met andere schakelaars.
Bedieningen. Alle modellen hebben een FREQ. BAND LOW-HIGH-schakelaar. In het geval van figuur 5 is te zien dat een derde functie, CRYSTAL ONLY, met deze schakelaar gecombineerd is. Het grootste verschil tussen de verschillende modellen zit in de schakelaar die de werking van de kristaloscillatoren regelt. Deze schakelaar wordt in de handleiding de bedieningsschakelaar genoemd. In figuren 3 en 5 is deze gemarkeerd met CRYSTAL OFF-ON; in figuur 4 is deze gemarkeerd met OFF-CRYSTALOPERATE-CHECK; in figuur 8, OFF-WARM-UP-CRYSTAL-OPERATE-MODULATECHECK; in figuur 6, HET. OSC-XTAL CHECK-XTAL ONLY; en in figuur 7, ALLEEN OSC.-HET. OSC-XTAL CHK-XTAL.
Het gebruik van deze bedieningselementen wordt gedetailleerd beschreven in de TM-11-300, in het hoofdstuk over elk specifiek model.
3. Fout in de frequentie-instelling
De frequentiemeterset SCR-211- (&) is een betrouwbaar frequentiemeetinstrument, maar is onderhevig aan bepaalde fouten, een situatie die bij alle dergelijke apparatuur voorkomt.
a. De grootste mogelijke fout in de frequentie-instelling van de frequentiemeter treedt op bij een instelling van 4000 kHz (en de bijbehorende harmonischen) bij een temperatuur van -30 °C. De meest voorkomende oorzaken van fouten zijn:

b. Dit is de theoretische maximale fout. Er dient rekening mee te worden gehouden dat zelfs normaal gebruik van het instrument, zoals het bedienen van de bedieningselementen, het vergrendelen van de wijzerplaat, enz., fouten kan veroorzaken, zoals weergegeven in de tabel. Ook variaties in de waarde van de batterijvoedingsspanning, de antennebelasting, de kalibratie, evenals afwijkingen in de kristalfrequentie en tijdens het opwarmen van de buizen, kunnen fouten veroorzaken. In de praktijk zullen de genoemde fouten echter niet noodzakelijkerwijs bij elkaar optellen, aangezien sommige andere fouten kunnen opheffen. Het vergrendelen van de draaiknop en het wijzigen van de antennebelasting resulteert bijvoorbeeld mogelijk niet in een fout van exact 80 Heretzli. Practische tests tonen aan dat in de meeste gevallen de gemiddelde fout kan worden verondersteld niet groter te zijn dan 50 procent van de waarden in de tabel. De maximale mogelijke fouten bij andere frequenties zijn: 985 Hz. bij 2000 kHz; 180 Hz.i bij 250 kHz.; en 180 Hz. bij 125 kHz.
4. Componenten
Een volledige lijst van de verschillende componenten die normaal gesproken bij elk model frequentiemeterset SCR-211-(&) worden geleverd, kan niet worden gemaakt, vanwege verschillen in contractuele vereisten van de verschillende fabrikanten en variaties in het uitgiftebeleid van de leveringsdepots. Elke frequentiemeterset SCR-211-(&) moet worden uitgerust met de volgende componenten voordat deze klaar is voor gebruik:

Naast de bovengenoemde onderdelen die nodig zijn voor de werking (die niet noodzakelijkerwijs allemaal bij de set worden meegeleverd), worden sommige modellen geleverd met diverse reserveonderdelen: draagriemen, tassen, gereedschap, enz.
Om verwarring te voorkomen, worden de extra onderdelen die normaal gesproken bij de apparatuur worden geleverd, gedetailleerd vermeld in het gedeelte van deTM-11-300 dat betrekking heeft op een bepaald model of een bepaalde serie modellen.
5. Vervangbare onderdelen.
Vervangbare onderdelen en componenten zijn afhankelijk van het model van de frequentiemeterset SCR-211- (&). Daarom zijn er voor elk model aparte lijsten met vervangbare onderdelen opgesteld, die u in het betreffende hoofdstuk kunt vinden. Voor modellen waarvan sommige onderdelen tijdens de productie zijn gewijzigd, wordt het verschil in onderdelen vermeld en uitgelegd.
6. Stroomverbruik.
Alle benodigde stroom voor de werking van de frequentiemeterset SCR-211- (&) wordt geleverd door de batterijen die in paragraaf 4 worden vermeld. Vanwege de verschillende soorten buizen en verschillen in schakelingen, kan het stroomverbruik van de verschillende modellen verschillen. Om deze reden wordt het stroomverbruik van elk model of elke modelserie beschreven in het hoofdstuk over het betreffende model.
Het gehel voedingspakket voor de BC-221-B en -Q.
En zo wordt de voeding verbonden met de meet-unit.
In een houten kast ziet het er allemaal wat anders uit.
Het principe van de batterij-voeding is overal het zelfde.
Er bestaat ook een netvoeding voor de BC221, de voor alle types bruikbare "Rectifier Power Unit RA-133-B" is HIER te vinden.
Algemeen
De frequentiemetersets SCR-211-A, SCR-211-C en SCR-211-D zijn in verschillende bestellingen door de Bendix Radio Corporation geproduceerd. De sets SCR-211-C en SCR-211-D zijn in alle belangrijke opzichten identiek en worden in dit hoofdstuk als zodanig behandeld. Set SCR-211-A verschilt van de SCR-211-C en de SCR-211-D op twee kleine punten. Het enige opvallende verschil in het interne uiterlijk tussen de SCR-211-A, de SCR-211-C en de SCR-211-D is dat bij de twee laatstgenoemde sets het reservekristal aan de onderkant van het chassis is gemonteerd in plaats van aan de linkerzijwand. Elektrisch gezien is het ircuit van de SCR-211-C of de SCR-211-D, afgezien van de toevoeging van twee kleine vaste weerstanden, 20-1 en 21-1, condensator 7-1c, en een wijziging in de aansluiting van het ontstoringsrooster van de variabele oscillatorbuis, identiek aan dat van de SCR-211-A. Opgemerkt dient te worden dat de onderdeelnummers in het schema van de SCR-211-A verschillen van de onderdeelnummers van de SCR-211-C en de SCR-211-D, maar de waarde en functie van vergelijkbare onderdelen is hetzelfde, ondanks de verschillende onderdeelnummers.
Het symbool (1) zoals gebruikt in dit hoofdstuk verwijst naar de SCR-211-A, SCR-211-C of SCR-211-D.
Schema van de BC-221-A
De bedrading van de BC-221-A
Wat meer info en afbeeldingen van de BC221-D.
De uitvoering van de Nederlandse Luchtmacht in Klu-grijs.
De kast bijna gereed voor gebruik.
Het typeplaatje van de set.
De Nederlandse inbreng. Er schijnt veel aan gesleuteld te zijn, gezien de vele modificaties. Het was natuurlijk ook een oud beestje.
De achterkant met onder het batterijvak of de voedingsunit in dit geval. Boven op de aansluiting voor de antenne.
Het chassis is origineel, maar een groot deel van de componenten niet. De smoorspoel is zelfs van Amroh, maar die zal wel niet door de KLu geplaatst zijn. In ieder geval werkt dit exemplaar op 220 Volt.
De reservedelen zijn al geroofd. De klemmen zijn inderdaad alleen geschikt door de oude glazen buizen die in deze serie werden toegepast. Bij de nieuwere exemplaren worden stalen buizen gebruikt die in ieder geval minder gevoelig voor glasbreuken zijn.
Gelukkig is deze frequentiemeter geschikt voor gebruik bij de luchtvaart.
Tekst is duidelijk, maar zou dit plaatje echt uit 1974 stammen? Gezien de kwaliteit van het ding zou dat heel goed kunnen.
Het front met alle bedienings attributen.
Ook hier het modificatie-kaartje.
De afstem-schalen.Er is afgestemd op 2216, in het calibratieboekje kijken welke frequentie dat is, ja in wat is de bereik-stand, hoog of laag??
Het antwoord staat hier al, de lage band dus.
Het calibratie-boekje. Altijd goed opletten dat het serienummer van de set overeen komt met die op het boekje!!!
Hier nog wat samengevatte gebruiksregels.

En zo ziet dat er dan uit, bv voor de frequentie 3670 kHz moet de afstemming op 3839.8 staan, maar ja het kan dus ook de 2. , 4. of 6.. harmonische zijn.
Het boekje was in 1957 al gecontroleerd door de techneuten van MEB in Oegsgeest. Wat MEB betekent weet ik niet, ik was pas in 1967 in militaire dienst
Deze indrukwekkende buizen bestuurden het hele instrument. Ze bestonden uit een pentode type 77 als oscillator, de liggende buis, een mengbuis van het type 6A7, rechts. En dan nog de LF-versterker met een triode type 76, links.
Nr.31 is de antenneaansluiting. En de andere pin is voor de aarding.
Overzicht van de kristal-oscillator-spullen.
In eerste instantie zou je zeggen "Wat doet die stalen buis er in" , maar dat is het 1000 kHz kristal.
Nr.28 is de aan/uit-schakelaar van het kristal.
Op deze foto is ook nog een klem te zien waarin het reserve-kristal kan worden geplaatst.
Als hoofdtelefoon wordt de HS30 gebruikt.
Dit is zo'n HS-30, het is een laagohmige telefoon, maar met het kastje in de kabel wordt deze impedantie omhoog getransformeerd zodat hij ook op hoogohmige uitgangen kan worden aangesloten. Op type -D kunnen zowel hoogohmige (15.000 kOhms) als laagohmige ( 2.500 Ohms) aangesloten worden. In mijn ogen is 2500 Ohm ook hoogohmig, maar dat is een kwestie van definitie.
Overigens moet de telefoon in de socket zijn gestoken, anders branden de gloeidraden niet.
In deze JB-47 zit een transformator ( C410) die de impedantie van de HS-30 ( 256 Ohm) naar naar 8000 Ohm transformeert.
Met deze klem kun je toch wel degelijke aansluitsnoeren wat ontlasten zodat de doppen je oren niet van het hoofd aftrekken.
Met deze plug wordt de headset aangesloten aan de BC-221. Pas goed op het volume van het LF-signaal, bij heel sterke knappers kunnen je trommelvliezen bijna barsten. De rubber dopjes passen heel goed in je oren en de druk komt ongeremd in je oor.
Schema BC-221-C en -D.
Bedrading BC-221-C en -D.
Algemeen:
De frequentiemetersets SCR-211-B en SCR211-Q zijn in verschillende bestellingen geproduceerd door Allen D.
Cardwell Mfg. Corporation. Deze twee modellen zijn in wezen gelijk in alle belangrijke details, maar er zijn verschillende belangrijke verschillen die in dit hoofdstuk worden beschreven.
Vroegere modellen van de SCR-211-B verschillen van de latere modellen van dezelfde set, en alle SCR211-B-modellen verschillen licht van de SCR211-Q. De latere modellen van de SCR-211-B bevatten een revisie in het antennecircuit, de waarde van de roosterlek van de detector-converterbuis, en in het kristalcircuit. Onderdeelnummers op de schema's verschillen ook, en in sommige gevallen variëren de elektrische waarden van de onderdelen. Om deze reden worden hier drie schema's afgedrukt; twee voor de twee typen SCR-211-B en één voor de SCR-211-Q. Voor meer algemene informatie, zie paragraaf 2. Het symbool (2) zoals
gebruikt in dit hoofdstuk verwijst naar de SCR211-B of SCR-211-Q. Nadere info in het TM.
De batterij-unit voor de BC-221-B en -Q.
De manier om de unit uit de behuizing te halen.
Het vroegere model van de -B uitvoering.
Bedrading van de BC221-B, vroeger model.
De latere -B uitvoering.
Bedrading van de BC221-B, later model.
Schema van BC-221-Q
Bedrading van de BC221-Q.
Algemeen:
De frequentiemeterset SCR-211-E is geproduceerd door Philco Corporation in verschillende bestellingen. Dit model is vergelijkbaar met de SCR211-B en SCR-211-Q die in hoofdstuk 3 worden beschreven, maar er zijn voldoende variaties in mechanische en elektrische details om een afzonderlijke behandeling te rechtvaardigen. Zie paragraaf 2 van TM voor meer algemene informatie.
Het schema van de BC-221-E.
De bedrading van de BC-221-E.
Algemeen
De frequentiemetersets SCR-211-F, SCR-211-J, SCR-211-K en SCR-211-L zijn in verschillende bestellingen door Zenith Radio Corporation geproduceerd. Deze vier modellen zijn vergelijkbaar met de SCR-211-A-, SCR-211-C- en SCR-211-D-series die in hoofdstuk 2 worden beschreven. De vier modellen die in dit hoofdstuk worden beschreven, zijn elektrisch en mechanisch gelijk, met twee uitzonderingen: de waarden van onderdelen 18, 49 en 50 variëren; en onderdelen 49 en 50 werden weggelaten uit de eerste productie van de SCR-211-F. Behalve het bovenstaande zijn de onderdeelnummers in de diagrammen hetzelfde, met waar nodig aangegeven variaties in elektrische waarden. Voor meer algemene informatie, zie paragraaf 2. van TM Het symbool (3) zoals gebruikt in dit hoofdstuk verwijst
naar de SCR-211-F, SCR-211-J, SCR-211-K of SCR-211-L.
Dit schema is toegepast in de BC221-F, -J, -K en -L.
De bedrading van de BC221-F, -J, -K en -L.
Algemeen
De frequentiemeterset SCR-211-M is geproduceerd door de Bendix Radio Corporation in verschillende bestellingen. De frequentiemetersets SCR-211-O, SCR-211-R en SCR-211-AC zijn geproduceerd door de Rauland Corporation. De sets SCR-211-0 en SCR-211-R zijn in alle elektrische en mechanische details exact gelijk, met uitzondering van de verschillen in nomenclatuur en bestelnummers. De SCR-211-M en de SCR-211-AC lijken sterk op deze twee modellen en op elkaar, maar vertonen variaties in de configuratie van het oscillatorcircuit met variabele frequentie en kleine verschillen in onderdeelafmetingen en -aanduidingen. Deze verschillen worden gedetailleerd besproken in de betreffende delen van dit hoofdstuk. Voor verdere algemene informatie zie paragraaf 2. Het symbool (4) zoals gebruikt in dit hoofdstuk verwijst naar de SCR-211–M, SCR-211-0, SCR-2 11-R of SCR-211-AС.
De BC221-M met wat meer afbeeldingen:
De gehele gesloten behuizing.
En deze reservebuizen en gereedschappen bevinden zich achter de klep onder het calibratie-boekje.
Het instrument in opgeklapte toestand.
Het calibratie-boekje.
Het serienummer komt overeen met die van de meter.
De typeplaatjes.
De achterkant waarvan de onderklep kan worden geopend. Hier in bevindt zich de voedings-unit.
Op deze foto de zelfgemaakte voeding. Een nadere uitleg is niet nodig, iedere voeding die 135 Volt DC en 6 Volt AC levert is goed.
Het bijbehorende schema in de PSU-deksel.
De met glasparels geisoleerde afstemcondensator met vertragings-bak.
Een detail-opname van de afstem-C.
Achteraanzicht met links de LF-pentode 6SJ7, boven-midden de oscillator met 6SJ7-pentode en rechts de mengbuis, een 6K8 Onder het 1000 kHz. kristal.
Een iets andere blik op de achterkant.
De aansluitingen van de voedingsspanning.
De linker kant met links de aard-aansluiting en bij nr. 31 het antenne-contact.
De aansluiting van de hoofdtelefoon. Met het schakelcontact van de socket wordt tevens de gloeispanning ingeschakeld bij het inpluggen van de telefoon,
Het kristal.
De onderkant. Er is geen reserve-kristal aanwezig.
De buisvoeten van de de mixer (links) en rechts de LF-versterker.
Bovenaanzicht.
Het schema van de BC221-M
De bedrading van de -M uitvoering.
Het schema van de BC221-O en -R.
De bedrading van de -O en -R uitvoering.
Het schema van de BC221-AC
De bedrading van de -AC uitvoering.
Algemeen
De frequentiemetersets SCR-211-N en SCR-211-AA zijn in verschillende bestellingen door Philco Corporation geproduceerd. Deze twee modellen zijn in wezen gelijk in alle belangrijke details, met uitzondering van het feit dat de vroege modellen van de SCR-211-N (serienummers 1 tot en met 3800) verschillen van de latere modellen van de SCR-211-N (serienummers 3801 en hoger) en de SCR-211-AA. De latere modellen van de SCR-211-N en de SCR-211-AA zijn elektrisch gezien exact gelijk. De SCR-211-AA wordt geleverd in twee soorten behuizingen, van metaal en van hout, wat leidt tot enkele verschillen in gewicht, en in de lijst met meegeleverde componenten. Deze verschillen worden in detail besproken in de betreffende delen van dit hoofdstuk. Voor meer algemene informatie zie paragraaf 2. Het symbool (5) zoals gebruikt in dit hoofdstuk verwijst naar de SCR211-N of SCR-211-AA.
Hierbij wat afbeeldingen afkomstig van Het Radiomuseum.org.
De houten kast van type -N. ( Foto Radio-museum.org )
De set klaar voor de start. ( Foto Radio-museum.org )
Het voorfront. ( Foto Radio-museum.org )
En nog zo'n front. ( Foto Radio-museum.org )
Het typeplaatje. ( Foto Radio-museum.org )
Het binnenwerk. ( Foto Radio-museum.org )
De onderkant. ( Foto Radio-museum.org )
Het schema van de BC221-N en -AA
De bedrading van de -N uitvoering.

De bedrading van de -AA uitvoering.
Algemeen:
De frequentiemetersets SCR-211-P, SCR-211-T, SCR-211-AF en SCR-211-AH zijn geproduceerd door Zenith Radio Corporation in verschillende bestellingen. De sets SCR-211-P en SCR-211-T zijn in alle elektrische en mechanische details exact gelijk. De nomenclatuur en bestelnummers verschillen echter. De SCR-211-AF en de SCR-211-AH lijken sterk op deze twee modellen en op elkaar, maar verschillen in de opstelling van het oscillatorcircuit met variabele frequentie, en in de afmetingen en aanduidingen van de onderdelen. Deze verschillen worden gedetailleerd besproken in de betreffende delen van dit hoofdstuk. Zie paragraaf 2 voor meer algemene informatie. Het symbool (6) zoals gebruikt in dit hoofdstuk verwijst naar de SCR-211-P, SCR-211-T, SCR-211-AF of SCR-211-AH.
De uitvoering "T".
De meter in zijn geheel. De kunstofafdekking van het calibratieboekje is aan vernieuwing toe. Het boekje heeft overigens wel het juiste nummer dat met het serienummer van deze set overeen komt.
Wat details uit het boekje.
De kast met gesloten luiken, boven het deksel waar zich het bedieningspaneel achter bevindt. Onder, de afdekplaat met zes schroeven voor de spare-parts.
Drie reservebuizen en een imbus-sleutel, de inhoud van de spareparts. Soms was ook een HS-30 hoofdtelefoon hier in gepropt.
Het gehele bedienpaneel. Boven een stempel met Aug 1956, dat zal waarschijnlijk het bouwjaar geweest zijn.
Serienummer 1769, komt overeen met het calibratieboek. De maker Zenith Radio Corporation. Op dit plaatje is het productiejaar niet af te leiden.
Een wat gedetailleerdere blik op de instelling van de frequentie.
De aansluitingen voor de hoofdtelefoon en de mode-schakelaar.
De linker zijkant met een bevestiging voor de kast.
Achteraanzicht met blik op de drie buizen en onderin, met oranje opschrift. het kristal. Linker buis, 6SJ7(VT-116) LF-versterker, midden boven, oscillator met 6SJ7Y (VT-116-B)en rechts de mengtrap met 6K8 (VT-167).
De rechterzijde, met instellingen voor de High- en Low-standen. Verder de drie stekker-pennen voor de aansluiting van de voedingsspanningen. Deze stekkers willen na heel veel jaren wel eens behoorlijk vast zitten. Met enig beleid en aangepast geweld kan de unit uit de kast gehaald worden.
Boven-aanzicht.
De onderkant van het precisie-instrument.
De ingebouwde voeding RA-133-B.
Zelfs het bedieningskastje paste in het compartiment.
Het schema van de Rectifier-Power-Unit.
De headset- HA-30.
De klem voor het vastzetten op je kleding.
De aanpassings-trafo JB-47-Fr.
Schema van de BC221-P en -T..
Bedrading van de -P en -T.
Hier wat foto's van de BC-221-AF. Ze zijn afkomstig van https://www.radiomuseum.co.uk
Het vooraanzicht. (foto : https://www.radiomuseum.co.uk)
Achteraanzicht. (foto : https://www.radiomuseum.co.uk)
Onderaanzicht. (foto : https://www.radiomuseum.co.uk)
Schema van de BC221-AF.
Bedrading van de -AF.
Schema van de BC221-AH.
Bedrading van de -AH.
Algemeen:
De frequentiemeterset SCR-211-AE en SCR211-AG zijn in verschillende bestellingen door Philco Corporation geproduceerd. Deze sets zijn in alle elektrische en mechanische details vergelijkbaar,
maar verschillen in nomenclatuur en bestelnummers, evenals in onderdeelafmetingen en -aanduiding. Zie paragraaf 2 voor meer algemene informatie. Het symbool (7) dat in dit hoofdstuk wordt gebruikt, verwijst naar de SCR-211-AE of de SCR-211-AG.
Afbeeldingen van de BC-221-AE.
De houten behuizing van de BC-221-AE..
Klaar voor gebruik.
Het calibratieboekje.
Het serienummer van het boekje.
De serienummers komen overeen!!!!
De achterkant met deksel voor de PSU.
Hier zouden de batterijen of de voedingsunit in moeten zitten.
Het schema in het PSU-deksel.
Met vier schroeven is het binnenwerk bevestigd aan de behuizing.
Het voorfront.
De afstemknop hebben we vaker gezien.
Twee aansluitingen voor de kop-telefoons en de keuzeschakelaar voor : zie afbeelding.
De schakelaar voor de bandkeuze en de knop van de Corrector.
De antenne-aansluiting bevindt zich hier op het front en niet boven op de kast.
Achteraanzicht met links de LF-versterker, dan de oscillator, het kristal en de mixer.
Bovenaanzicht .
De onderkant .Bedrading voor het eeuwige leven.
Kwalitatief hoogwaardige componenten.
De spoel voor de hoge band met een bi-metalen temperatuur compensatie binnen in de spoel.
Hier nog twee trimmers voor de correctie van Low- en High-band. Beter niet aankomen, anders loopt de calibratie in de war.
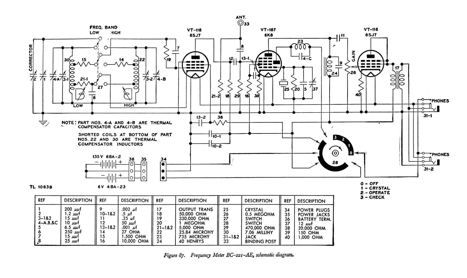
Het schema van de BC221-AE.
De bedrading van de -AE
Het schema van de BC221-AG
De bedrading van de -AG
Algemeen:
De frequentiemeterset SCR-211-AK is geproduceerd door Philco Radio Corporation in verschillende bestellingen. De SCR-221-AK is de eerste van een nieuwe serie frequentiemetersets met een modulatoreenheid en een opwarmstand van de bedieningsschakelaar. Wanneer de bedieningsschakelaar op MODULATE staat, wordt de uitgang van de variabele-frequentieoscillator gemoduleerd op een frequentie van ongeveer 375 Hz. Dit biedt de mogelijkheid om ontvangers te kalibreren en te testen die niet zijn uitgerust met een c-w-oscillator. In de opwarmstand van de bedieningsschakelaar wordt alleen de gloeidraad van de variabele-frequentieoscillatorbuis VT-116 (6SJ7) ingeschakeld. Dit voorkomt onnodig verbruik van de A- en B-batterijen tijdens de eerste opwarmperiode. Dit resulteert in een aanzienlijke besparing op de batterijlevensduur. Zie paragraaf 2 voor meer algemene informatie.
Schema van de BC-221-AK
De bedrading van de -AK.
Algemeen
De frequentiemeterset SCR-211-AJ is gefabriceerd door Rauland Corporation en
de frequentiemeterset SCR-211-AL is gefabriceerd door Zenith Radio corporation, in verschillende bestellingen. Deze modellen zijn vergelijkbaar met de SCR-211-AK, besproken in het vorige hoofdstuk, doordat ze ook een modulerende eenheid en een WARM-UP-stand bevatten. Bij deze modellen is de WARM-UP-stand een stand van de POWER-schakelaar. Wanneer de bedieningsschakelaar op MOD. OSC. staat, wordt de uitgang van de variabele-frequentieoscillator gemoduleerd met een frequentie van ongeveer 400 Hz. Dit biedt de mogelijkheid om ontvangers te kalibreren en te testen die niet zijn uitgerust met een c-w-oscillator. In de WARMUP-stand van de POWER-schakelaar is alleen de gloeidraad van de variabele-frequentieoscillatorbuis VT-116-B (6SJ7Y) ingeschakeld. Dit voorkomt onnodige belasting van de A- en B-batterijen
tijdens de eerste opwarmperiode. Deze voorziening resulteert in een aanzienlijke besparing op de batterijlevensduur. De twee modellen in dit hoofdstuk
zijn elektrisch gelijk, met twee uitzonderingen: de waarden van onderdeel 24 en 43 variëren, en onderdeel 54 is weggelaten uit de SCR-211-AL. Deze variaties
worden waar nodig vermeld. Zie paragraaf 2 voor meer algemene informatie. Het symbool (8), zoals gebruikt in dit hoofdstuk, verwijst naar de SCR211-AJ of de SCR-221-AL.
Schema van de BC-221-AJ
De bedrading van de -AJ.
Schema van de BC-221-AL
De bedrading van de -AL.
Van dit type is op dit moment jammer genoeg geen informatie aanwezig! Alleen een foto.
Technisch Handboek TM11-300 in pdf.
Opmerkingen:
Iedere kristalunit met nummering N of hoger kan uitgewisseld worden met elke meter met nummering N of hoger.
Uitgangsimpedantie LF:
Hoge impedantie betekent 15 kOhm, Laag is 2,5 kOhm. P-18 of P-20, hoge imp. telefoons of de HS-30 (256 Ohm) met impedantietrafo zijn voor de hoge impedantie geschikt.
HS-30 telefoons zonder trafo alleen voor de laagohmige types. DE BC-221-AK is 600 Ohm voor een HS-33 hoofdtelefoon.