TR-1000, Dynamic Transistor Tester

 

Een transistortester die wat werking betreft wat anders functioneert dan vele andere testers. Er zit geen meter op, de enige goed/fout-indicatie is een neonlampje dat oplicht wanneer de versterkingsfactor van de te meten transistor groot genoeg is om een spanningsgenerator te activeren die een zodanige spanning opwekt die een neonlampje laat branden. Ja, bedenk het maar eens. Over neonlampjes gesproken, over deze wonderbaarlijke dingen kun je wel een boek schrijven. Er zijn heel veel toepassingen waarin een neonlampje een belangrijke rol speelt, denk daarbij aan spanningsstabilisatie, ingangsbeveiliging van ontvangers tegen overspanning, piekspanningbeveiliging op LF-uitgangstrafo's (primaire kant), oscillatoren, Nixie-buisjes en ga zo maar door.
Verder kun je met de meter ook transistoren vergelijken en wanneer je het manual door leest valt er nog wel meer te meten.

De meter is ook onder de naam Tandy 22-024 bekend. Tandy was een grote Amerikaanse keten voor electronische producten. Radio Shack verkocht apparatuur van dit merk.

En zo ziet het apparaat er uit, als nieuw. Een zoektocht op internet leverde wat informatie over de herkomst op. Het instrument komt met de merknaam Micronta op de markt. Onder deze naam werd het toestel gemaakt voor oa. Radioshack, een divisie van de Tandy-Corporation. Waarschijnlijk in Japan gemaakt voor de Amerikaanse markt.

Het vooraanzicht van de meter.

Aan de linker kant een schakelaar om de lamp te activeren. In het midden de NPN-OFF-PNP-schakelaar. Hierbij is de meter in de OFF-stand uitgeschakeld en kan in de twee andere standen het transisortype NPN of PNP gekozen worden. Hiermee wordt de spanning van de ingebouwde 1,5 batterij omgepoold.. Verder kan op de output-jacks het geproduceerde primaire siagnaal van de oscillator gemeten worden. In het midden de neonlamp met de verrassende mededeling dat de lamp zal opgloeien bij een goede transistor. Duidelijk dus.

Onder de lamp bevindt zich de potmeter voor de basisstroom-instelling. Deze potmeter bedient ook een schakelaar voor een "Go-No-Go" test en een "In circuit-test". Met de schakelaar wordt de basis-serieweerstand overbrugd zodat de basisstroom wat verhoogd wordt. Om transistoren te vergelijken wordt de waarde van de bais-stroom genoteerd en vergeleken met andere metingen. Wanneer die waarden ongeveer overeenkomen kan men er van uit gaan dat de transistoren met elkaar overeenkomen.
Er zijn drie verschillende mogelijkheden om de transistor aan te sluiten, links in het midden een rechthoekig aansluitblok en rechts een ronde transistorvoet met E-B-C-aanduiding. Onder bevinden zich drie aansluitdraden om bv. powertransistoren aan de pootjes te meten of om in de de schakeling te meten.

Door vier schroefjes van het frontpaneel los te draaien kan het binnenwerk uit de behuizing worden genomen.

Het binnenwerk.

Een wat beter overzicht. Links de omvormertrafo die de "hoogspanning" levert voor de neonlamp. rechts daarvan de aanuit-NP-NPN-schakelaar. Dan de neonlamp, de basisstroompotmeter en de 1,5 Volt batterij.

De rechter zijkant met de aansluitingen voor een meter.

De linker kant met het grote, zwarte aansluitblok in het midden.

De onderkant met de drie aansluitdraden en de 1,5 batterij.

De bovenkant met de wat door roest aangetaste hoogspanningstrafo. Hoe deze roest ontstaan is, is niet zo maar te verklaren. Meestal is een lekkende batterij de oorzaak, maar dan zou de meter lange tijd op z'n kop hebben moeten staan......

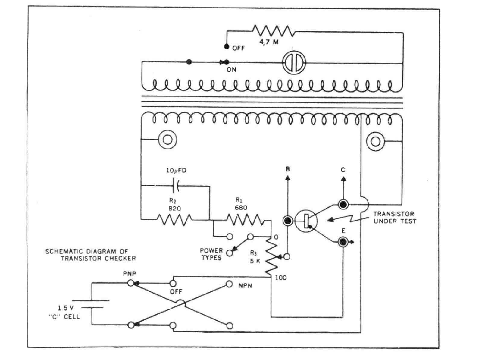
Het schema.

Het manual door BAMA gepubliceerd.:

PDF van het manual.

PDF van de Tandy 22-24 in een iets andere (uiterlijk) uitvoering.

 

 

Flag Counter